Ron kim phun
Ron kim phun
1 / 1

Ron kim phun

5.0
11 đánh giá

42.000
Share:
Phụ tùng xe An Kim Sơn

Phụ tùng xe An Kim Sơn

@an_nguyen558
4.9/5

Đánh giá

1.382

Theo Dõi

2.010

Nhận xét

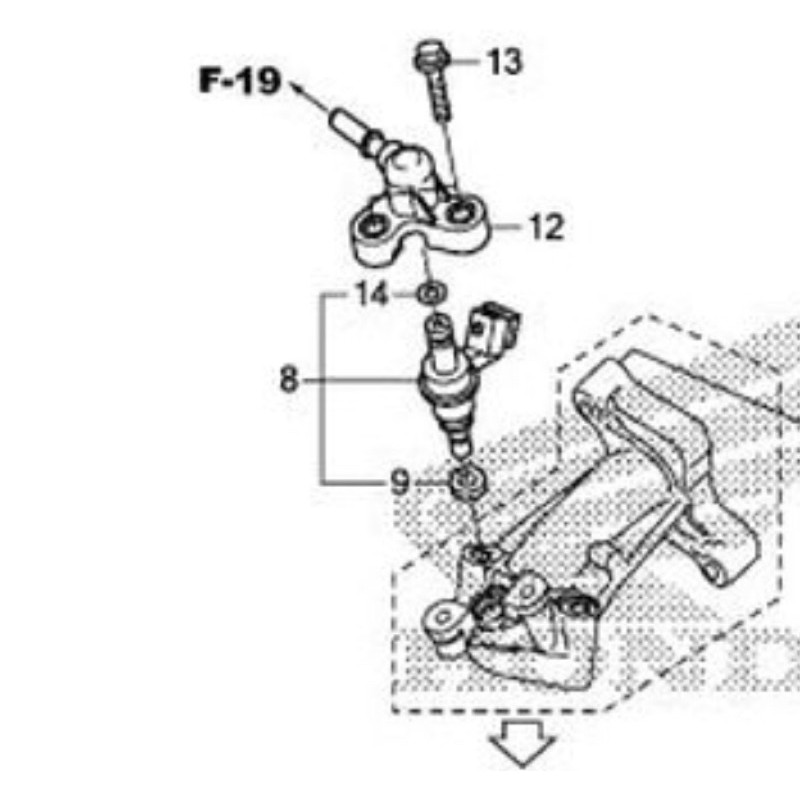
Ron kim phun dành cho dòng Fu mập, Lead 125, Aib 110, Aib 125, Vision cũ, Vision mới, SH mode 2013, SH125&150 2012, SH 300i 2016, PCX 2012, Winner, MSX125 Vị trí số 9 trên hình mô tả An Kim Sơn - Chuyên phụ tùng Honda Nhập Khẩu

Sản Phẩm Tương Tự

*Sản phẩm được thu thập tự động để tiếp thị. Chúng tôi không bán hàng.